| 產品名稱: | PSL□-12/4防雷支柱絕緣子 | |||||
| 型號規格: | ![]() |
|||||
| 產品類別: | 常規產品 -- 高壓電器 -- 瓷瓶絕緣子 | |||||
| 參考價格: | 廠價直銷 | |||||
| 產品品牌: | 國產 | |||||
| 產品產地: | 上海 | |||||
| 可供數量: | 批量 | |||||
| 供貨周期: | 現貨(或電詢) | |||||
|
||||||
| 產品簡介: |
|
|||||
|
產品型號 |
額定電壓(kV) |
額定抗彎負荷(kN) |
雷電沖擊臨界閃絡電壓(kV) |
|
PSL□—12/4 |
12 |
4 |
140 |
|
1min工頻耐受電壓(有效值) |
正負極性各15次雷電沖擊耐受電壓(峰值) | |
|
干試 |
濕試 |
75 |
|
42 |
30 | |
|
耐受電流(kA) |
耐受時間(s) |
耐受次數 |
|
1 |
0.5 |
5 |
|
16 |
0.3 |
3 |
|
20 |
0.2 |
2 |
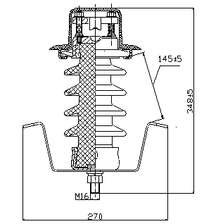
5產品外形見圖1
圖1
6.安裝方式見圖2
6.1開箱后,仔細檢查絕緣子在運輸、保管過程中有無損傷。
6.2將絕緣罩中的放電環取出,套在絕緣子上帽上,絕緣子及引弧板牢固地固定在安裝支架上,并保證引弧板與架空絕緣電纜保持平行。
6.3將放電間隙按要求調整到145±5mm。
6.4架空絕緣電纜的處理
6.4.1在固定架空絕緣電纜處,用刀將電纜絕緣層剝去100~120mm,見圖3。
圖3 
6.4.2在絕緣層與裸導線的結合處,用防水絕緣帶扎緊,見圖4。
圖4 
6.4.3在裸導線處用厚1mm寬10mm的鋁帶包1~2層(截面積小于等于70mm2的導線包2層,截面積小于等于120mm2包1層),見圖5。
圖5 
6.5將處理好的電纜放在絕緣子上法蘭的凹槽內,水平旋轉壓板至安裝位置,并用螺母將電纜固定在絕緣子上。
6.6用專用絕緣罩套在電纜與絕緣子固定處,扣上鈕扣,并用防水絕緣膠帶將專用絕緣罩安裝腳與電纜包扎固定。