Y型氣動油桶泵(簡稱:氣動漿料泵,又名:氣動插桶泵,氣動活塞泵,氣動柱塞泵,氣動濃漿泵,氣動往復泵,氣動打膠泵、氣動抽液泵,氣動防爆不銹鋼泵,皮革噴漿泵)。氣動漿料泵應用于人造革、移膜革、壓延革、彩涂板、印染、醫藥、涂層、化工、紡織、噴漆、噴涂、薄膜鍍鋁、彩鋼瓦等行業。適用于高粘度(VIS)≤12萬CPS/25℃的化工漿料輸送,具有防爆耐腐防沉淀、低噪音、節能等功能。是理想的移動輸送設備。
本產品采用氣壓差的作用,使活塞上下運行,帶動導料活塞開閉,起到提料的作用。調整給氣動漿料泵工作氣體的流量與氣壓來控制和調節氣動漿料泵送料流量。結合感應開關能使之自動化工作。上海水泵廠家上海禹工泵業歡迎新老用戶選購。
油桶泵使用方法:
1、先將導料管正確放入所要輸送的料桶內。
2、將耐腐蝕軟管連接出料口接至送料地點。
3、進氣閥呈關閉狀態,然后將氣源管連接進氣閥接頭,根據所需漿料流量來開啟進氣閥 調節氣動漿料泵運行頻率,即可工作。
油桶泵維護保養:
1、氣動漿料泵在使用過程中防止撞擊缸體部位避免變形,發生活塞卡死現象,造成報廢
2、活塞在運行壹佰萬余次后,根據空壓機送氣過程中水份積留情況應清缸體,涂注30#潤滑油。
3、如經久不用,應在溶劑內工作狀清洗,防止漿料凍結,阻塞導料管。
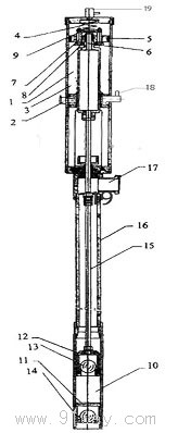
油桶泵結構說明:

1、缸體
2、進氣閥
3、彈簧
4、彈簧
5、活塞
6、排氣管
7、換氣管
8、密封底座
9、密封上蓋
10、漿料缸體
11、進料口
12、漿料活塞
13、進料鋼球
14、鋼球
15、連桿
16、漿料管
17、出料口
18、加油閥
19、放氣閥
油桶泵使用范圍:
Y型氣動插桶泵可輸送酸、堿、鹽、油品、飲料等介質,廣泛用于化工、石油化工、精細化工、染料化工、環保、水處理、醫藥、食品等部門。BSY型氣動插桶泵(油桶泵、氣動漿料泵、皮革漿料泵、打料漿料泵)專為皮革行業及其他工業行業涂臺漿料輸送設計,具有耐腐、防沉淀、節能等作用,是理想的移動輸送設備。
油桶泵性能參數:
